
我們專業做異形模具和異形塑料件
開模不成功,退還全部開模費
全國咨詢熱線:
13932815220
13932815220









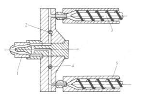
注塑生產中,所謂雙色注塑成型,是指將兩種不同色澤的塑料注入同一模具的成型方法。它能使塑件出現兩種不同的顏色,并能使塑件呈現有規則的圖案或無規則的云紋狀花色,以提高塑件的實用性和美觀性。 雙混色注塑成型 注塑加工廠家生產中,如下圖所示為雙混色注

1、溫度的控制在控制儀器上,設定需要的溫度,而感應器的顯示將與設定點上產生的溫度相比較。在這最簡單的系統中,當溫度到達設定點時,就會關閉,溫度下降后電源又重新開啟。這種系統稱為開閉控制,因為它不是開就是關。2、溫度溫度的測量和控制在注塑中是十分重要的。雖然進行這些測量是相對地簡單,但多數注塑機都沒有足

產生氣泡在原料方面的原因分析:(1) 如原料中水分含量過多,或易揮發成分超標,它們受熱后會產生大量氣體,給塑料模具的排氣系統增加額外負擔,若不能駕駛排走,它們會混入熔體中,生成氣泡。對此,應將這些原料進行預干燥處理。、(2) 若原料的顆粒太小或粒徑差異較大,使得在供料過程中混入空氣太多,氣體進入熔體的機會增
HOTLINE
聯系人:史經理
HOTLINE
微信\電話:13932815220
ADDRESS
地址:河北省深州市大屯鎮孤城工業區